基于JAVA+SpringBoot+Vue+uniapp的微信小程序点餐平台
该系统是一个基于Java+SpringBoot后端、Vue+Uniapp前端的微信小程序点餐平台。平台实现了在线菜单浏览、购物车管理、订单提交与支付、后台数据统计等核心功能,为餐饮商家提供高效便捷的数字化点餐解决方案。项目采用前后端分离架构,适合作为毕业设计或实际项目开发,展示了现代Web与移动应用系统的完整实现流程。
浏览 23 次
Enterprise OA Management System Based on SpringBoot and Vue
该项目采用前后端分离架构,后端基于Java SpringBoot框架构建,前端使用Vue.js开发。系统实现了企业办公自动化管理,包含员工信息管理、审批流程、文档共享、考勤统计等核心功能。该系统开发适合作为企业信息化管理解决方案,也可用于毕业设计或项目实践,展示了现代Web应用开发的最佳实践。
该项目采用前后端分离架构,后端基于Java SpringBoot框架构建,前端使用Vue.js开发。系统实现了企业办公自动化管理,包含员工信息管理、审批流程、文档共享、考勤统计等核心功能。该系统开发适合作为企业信息化管理解决方案,也可用于毕业设计或项目实践,展示了现代Web应用开发的最佳实践。
随着互联网技术的快速发展,网络时代的到来,网络信息也将会改变当今社会。各行各业在日常企业经营管理等方面也在慢慢的向规范化和网络化趋势汇合。企业OA管理系统的信息化程度体现在将互联网与信息技术应用于经营与管理,以现代化工具代替传统手工作业。无疑,使用网络信息化管理使信息管理更先进、更高效、更科学,信息交流更迅速。
对于之前企业OA管理系统的管理,大部分都是使用传统的人工方式去管理,这样导致了管理效率低下、出错频率高。而且,时间一长的话,积累下来的数据信息不容易保存,对于查询、更新还有维护会带来不少问题。对于数据交接也存在很大的隐患。如果采用电子化的存储方式就会带来很大的改善,而且给用户的查询带来了很大便利,因此设计一个企业OA管理系统刻不容缓,能够提高信息的管理水平。
通过对本企业OA管理系统实行的目的初步调查和分析,提出可行性方案并对其一一进行论证。我们在这里主要从技术可行性、经济可行性、操作可行性等方面进行分析。
本企业OA管理系统采用SSM框架,JAVA作为开发语言,是基于WEB平台的B/S架构系统。
(1)Java提供了稳定的性能、优秀的升级性、更快速的开发、更简便的管理、全新的语言以及服务。整个系统帮用户做了大部分不重要的琐碎的工作。
(2)基于B/S模式的系统的开发已发展日趋成熟。
(3)众所周知,Java是面向对象的开发语言。程序开发员可以在Eclipse平台上面方便的使用一些已知的解决方案。
因此,企业OA管理系统在开发技术上具有很高可行性,且开发人员掌握了一定的开发技术,所以此系统的开发技术具有可行性。
本企业OA管理系统采用的软件都是开源的,这样能够削减很多的精力和资源,降低开发成本。同时对计算机的配置要求也极低,即使是淘汰下来的计算机也能够满足需要,因此,本系统在经济上是完全具有可行性的,所以在经济上是十分可行的。
本企业OA管理系统的界面简单易操作,用户只要平时有在用过电脑,都能进行访问和操作。本系统具有易操作、易管理、交互性好的特点,在操作上是非常简单的,因此在操作上具有很高的可行性。
综上所述,此系统开发目标已明确,在技术、经济和操作方面都具有很高的可行性,并且投入少、功能完善、管理方便,因此系统的开发是完全可行的。
此企业OA管理系统要严格控制管理权限,具体要求如下:
(1)要想对企业OA管理系统进行管理,首先要依靠用户名和密码在系统中登陆,无权限的用户不可以通过任何方式登录系统和对系统的任何信息和数据进行查看,这样可以保证系统的安全可靠性和准确性。
(2)在具体实现中对不同的权限进行设定,不同权限的用户在系统中登陆后,不可以越级操作。
(1)所有记录信息要保持全面,信息记录内容不可以是空。
(2)各种数据间相互联系要保持正确。
(3)相同数据在不同记录中要保持一致。

图3-3登录流程图

图3-4修改密码流程图
本系统采用B/S结构(Browser/Server,浏览器/服务器结构)和基于Web服务两种模式,是一个适用于Internet环境下的模型结构。只要用户能连上Internet,便可以在任何时间、任何地点使用。系统工作原理图如图4-1所示:

图4-1系统工作原理图
本系统是基于B/S架构的网站系统,设计的功能结构图如下图所示:

图4-2功能结构图
概念设计的目标是设计出反映某个组织部门信息需求的数据库系统概念模式,数据库系统的概念模式独立于数据库系统的逻辑结构、独立于数据库管理系统(DBMS)、独立于计算机系统。
概念模式的设计方法是在需求分析的基础上,用概念数据模型(例如E-R模型)表示数据及数据之间的相互联系,设计出反映用户信息需求和处理需求的数据库系统概念模式。概念设计的目标是准确描述应用领域的信息模式,支持用户的各种应用,这样既容易转换为数据库系统逻辑模式,又容易为用户理解。数据库系统概念模式是面向现实世界的数据模型,不能直接用于数据库系统的实现。在此阶段,用户可以参与和评价数据库系统的设计,从而有利于保证数据库系统的设计与用户的需求相吻合。在概念模式的设计中,E-R模型法是最常见的设计方法。本系统的E-R图如下图所示:
(1)管理员信息的实体属性图如下:

图4.12 管理员信息实体属性图
(2)公告信息实体属性图如图4.13所示:

图4.13 公告信息实体属性图
(3)车辆信息实体属性图如图4.14所示:

图4.14 车辆信息实体属性图
企业OA管理系统的系统管理员可以用户教师,可以对用户信息修改删除以及查询操作。具体界面的展示如图5.1所示。

图5.1 用户信息管理界面
系统管理员可以查看对公告信息进行添加,修改,删除以及查询操作。具体界面如图5.2所示。

图5.2 公告信息管理界面
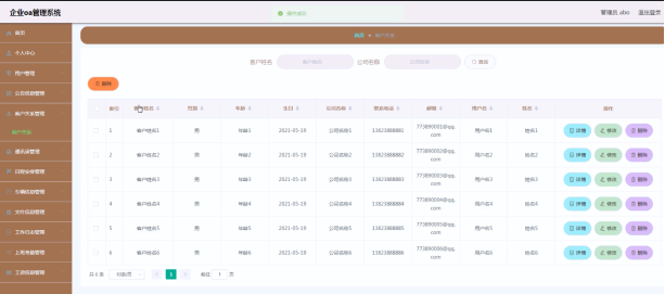
系统管理员可以对客户关系信息进行修改,删除以及查询操作。界面如下图所示:

图5.3 客户关系信息管理界面
系统管理员可以对通讯录进行添加修改删除操作。界面如下图所示:

图5.4 通讯录管理界面
用户可以对客户关系进行添加修改删除。界面如下图所示:

图5.5 客户关系界面
用户可以对通讯录进行添加修改删除操作。界面如下图所示:

图5.6 通讯录添加界面
用户可以对日程安排进行添加修改删除操作。界面如下图所示:

图5.7 日程安排界面
可沟通项目方向、预算、交付周期与答辩时间安排,支持按学校要求定制交付内容。
根据你的浏览兴趣与热门趋势,精选可能适合你的毕业设计项目。
该系统是一个基于Java+SpringBoot后端、Vue+Uniapp前端的微信小程序点餐平台。平台实现了在线菜单浏览、购物车管理、订单提交与支付、后台数据统计等核心功能,为餐饮商家提供高效便捷的数字化点餐解决方案。项目采用前后端分离架构,适合作为毕业设计或实际项目开发,展示了现代Web与移动应用系统的完整实现流程。
该项目是一个集成了协同过滤推荐算法、网络爬虫与AI技术的智能减肥小程序。系统采用JAVA+SpringBoot构建后端服务,Vue+uniapp实现跨平台前端,旨在为用户提供个性化的饮食与运动方案。核心功能包括基于用户行为的智能推荐、健康数据管理及社区互动,适合作为毕业设计或实际项目开发,展示了现代Web与移动应用在信息管理与系统开发中的综合实践。
该系统是一个基于JAVA+SpringBoot后端与Vue前端的自动阅卷分析系统,旨在实现高效、准确的试卷批改与学习数据分析。核心功能包括智能识别与评分、错题统计分析、成绩报告生成以及教学效果评估。该系统开发专注于提升阅卷效率与信息管理深度,适用于在线教育、考试机构及毕业设计项目实现,为教学管理与学习分析提供一体化解决方案。
该心理健康测试平台是一个集前端小程序与后端管理系统于一体的综合系统开发项目。平台采用JAVA与SpringBoot构建稳健后端,结合Vue与uniApp实现跨端小程序开发,为用户提供便捷的心理测评与报告服务。系统核心功能包括题库管理、在线测试、数据分析及报告生成,旨在通过信息化手段提升心理健康服务的可及性与专业性,适用于毕业设计或实际项目实现。
该项目是一个基于JAVA+SpringBoot+Vue+uniapp技术栈的前后端分离微信小程序艺术品陶瓷商城系统。系统开发实现了艺术品陶瓷的在线展示、商品管理、用户订单处理及支付集成等核心功能,为陶瓷艺术品的数字化交易提供了完整的信息管理解决方案,适合作为毕业设计或商业项目实现。
该系统是一个基于Java+SpringBoot+Vue的二手车交易管理系统,旨在为用户提供便捷的在线车辆买卖平台。核心功能包括车辆信息发布、智能搜索、在线咨询、交易管理及用户评价等模块。通过前后端分离的系统开发模式,实现了高效的信息管理和流畅的用户体验,适合作为毕业设计或实际项目实现,帮助提升二手车交易效率与透明度。
该项目是一个基于Java、SpringBoot和Vue的故障报修平台,旨在实现高效的设备故障管理与维修流程。系统提供用户在线报修、工单分配、进度跟踪及数据统计等核心功能,适用于企业或校园的日常运维。通过前后端分离架构,确保了系统的可扩展性和维护性,适合作为毕业设计或实际项目实现,展示了现代Web信息管理系统的开发实践。
这是一个基于JAVA+SpringBoot+Vue的前后端分离学校请假管理系统,旨在实现学生请假流程的数字化与高效管理。系统开发涵盖了学生在线提交申请、辅导员与院系审批、请假记录统计等核心功能,优化了传统纸质流程。该项目可作为信息管理系统的毕业设计或实际应用案例,展示了前后端分离架构在项目实现中的优势。