基于JAVA+SpringBoot+Vue+uniapp的微信小程序点餐平台
该系统是一个基于Java+SpringBoot后端、Vue+Uniapp前端的微信小程序点餐平台。平台实现了在线菜单浏览、购物车管理、订单提交与支付、后台数据统计等核心功能,为餐饮商家提供高效便捷的数字化点餐解决方案。项目采用前后端分离架构,适合作为毕业设计或实际项目开发,展示了现代Web与移动应用系统的完整实现流程。
浏览 8 次
Community Maintenance Management System Based on Java+SpringBoot+Vue
该项目是一个基于Java+SpringBoot+Vue的前后端分离社区维修平台,旨在实现高效的社区设施维修信息管理。系统核心功能包括在线报修、工单分配、进度跟踪与用户反馈,为居民和管理员提供便捷的数字化服务。此系统开发适合作为毕业设计或实际项目实现,展示了现代Web应用在信息管理领域的实践。
该项目是一个基于Java+SpringBoot+Vue的前后端分离社区维修平台,旨在实现高效的社区设施维修信息管理。系统核心功能包括在线报修、工单分配、进度跟踪与用户反馈,为居民和管理员提供便捷的数字化服务。此系统开发适合作为毕业设计或实际项目实现,展示了现代Web应用在信息管理领域的实践。
社区维修平台主要的模块包括基本住户管理、社区公告管理、维修工管理、维修订单管理、接单信息管理、订单信息管理、在线沟通管理、举报信息管理、留言板管理、系统管理模块等功能。

管理员通过后台登录页面,可以进行填写用户名和密码,等信息,输入无误后进行登录操作,如图5-1所示

图5-1管理员登录页面
管理员登录成功后进入到系统操作界面,可以对个人中心、住户管理、社区公告管理、维修工管理、维修订单管理、接单信息管理、订单信息管理、在线沟通管理、举报信息管理、留言板管理、系统管理等功能模块进行相对应操作。
管理员通过个人中心可以获取修改密码和个人信息两个子模块,通过个人信息列表可以进行查看管理员的个人信息并进行查看修改操作,如图5-2所示。

图5-2个人信息页面
管理员通过列表查看用户名、密码、住户姓名、性别、头像、手机号等信息,管理员可以进行修改或查看删除操作,也可以通过点击输入用户名可以进行搜索公告,如图5-3所示。

图5-3住户管理页面
管理员通过列表可以获取公告标题、图片、公告内容、发布时间等信息,进行插件社区公告详情信息、修改或删除操作,管理员通过输入公告标题进行查询或添加公告操作,如图5-4所示。

图5-4社区公关管理页面
管理员通过点击维修工页面可以进行查看账户、密码、姓名、性别、等级、头像、身份证、电话、简介等信息,进行查看详情或修改或删除操作,并通过账号进行查询操作,如图5-5所示。

图5-5维修工页面
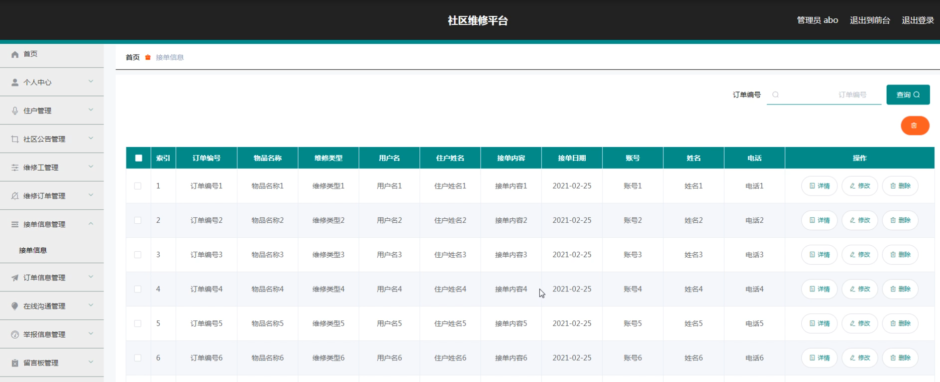
住户通过接单信息列表可以进行查看订单编号、物品名称、维修类型、用户名、住户姓名、接单内容、接单日期、账号、姓名、电话等信息,进行查看详情、修改或删除操作,通过输入订单编号进行查询操作,如图5-6所示。

图5-6接单信息管理
管理员通过接单信息列表可以进行查看订单编号、物品名称、维修类型、用户名、住户姓名、维修费用、账号、姓名、是否支付等信息,进行查看详情、修改或删除操作,并通过输入订单编号、物品名称、住户姓名进行查询操作,如图5-7所示。

图5-7订单信息管理页面
通过在线沟通列表可以进行查看标题、用户名、住户姓名、聊天内容、聊天回复、账号、姓名等信息,进行查看详情或修改、删除操作,通过输入标题、住户姓名进行查询操作,如图5-8所示。

图5-8在线沟通管理界面图
通过列表可以获取标题、账号、姓名、举报内容、举报日期、用户名、住户姓名、审核回复、审核状态、审核等信息,进行查看详情或修改删除操作,并且通过输入标题、姓名进行搜索操作,如图5-9所示。

图5-9举报信息管理页面
维修员通过后台登录页面,可以进行填写用户名和密码,等信息,输入无误后进行登录操作,如图5-10所示

图5-10维修员登录页面
维修员通过个人中心页面可以进行输入账号、密码、姓名、性别、密码、等级、上传图片、身份证、电话等信息,进行更新信息或退出操作。如图5-11所示。

图5-12个人中心页面
通过页面可以进行在线留言,输入留言内容进行立即提交操作。如图5-13所示。

图5-13留言反馈界面图
通过点击维修工可以进行查看维修工的账号、性别、头像、等级、身份证、电话、简介等信息,进行查看或举报操作,如图5-14所示。通过点击举报进入举报页面可以进行输入标题、账号、姓名、举报内容、举报日期、用户名、住户姓名等信息,进行举报提交操作,如图5-15所示。

图5-14维修工详情界面图

图5-15维修工举报界面图
通过点击新闻资讯可以进行查看新闻内容、发布时间、新闻标题等信息,进行查看,如图5-16所示。

图5-16新闻资讯页面
通过点击维修订单可以进行查看维修订单的物品名称、维修类型、发布日期、用户名、住户姓名、手机号、地址等信息,进行查看、接单,在线交流,如图5-17所示。维修员通过点击接单进入接单页面可以进行查看物品名称、维修类型、用户名、住户姓名、接单内容、接单日期、账号、姓名、电话等信息,进行提交或重置操作,如图5-18所示。维修员通过点击交流可以进行页面进行在线查看标题、用户名、住户姓名、进行输入聊天内容、日期等信息,进行在线交流操作,如图5-19所示。

图5-17维修订单界面图

图5-18接单界面图

图5-19交流界面图
用户通过用户登录页面可以填写用户名和密码,等信息进行登录操作,用户登录成功后,进入用户后台系统页面可以查看个人中心、维修订单管理、接单信息管理、订单信息管理、在线沟通管理、举报信息管理模块等功能模块,进行相对应操作。如图5-20所示。

图5-20用户系统界面图
用户通过点击个人中心可以进行查看修改密码、个人信息两个子模块,个人信息:通过页面可以进行输入用户名、住户姓名、性别、头像、手机号等信息,进行修改操作。如图5-21所示。

图5-21个人信息页面
用户通过列表可以进行查看名称、物品名称、维修类型、图片、发布日期、用户名、住户姓名、手机、地址等信息,进行查看、添加或删除操作。如图5-22所示。住户通过点击添加进入页面可以进行填写名称、维修类型、物品名称、图片、发布日期、用户名、住户姓名、地址、手机、维修内容等信息,进行提交维修订单操作,如图5-23所示。

图5-22维修订单界面图
住户通过接单信息列表可以进行查看订单编号、物品名称、维修类型、用户名、住户姓名、接单内容、接单日期、账号、姓名、电话等信息,进行查看详情或通过输入订单编号进行查询操作,如图5-24所示。

图5-24接单信息管理界面图
住户通过接单信息列表可以进行查看订单编号、物品名称、维修类型、用户名、住户姓名、维修费用、账号、姓名、是否支付等信息,进行查看详情或通过输入订单编号、物品名称、住户姓名进行查询操作,如图5-25所示。

图5-26订单信息管理界面图
通过在线沟通列表可以进行查看标题、用户名、住户姓名、聊天内容、聊天回复、账号、姓名等信息,进行查看详情或修改、删除操作,通过输入标题、住户姓名进行查询操作,如图5-27所示。

图5-27在线沟通界面图
通过举报信息列表可以进行查看标题、账号、姓名、举报内容、举报日期、住户姓名、审核回复、审核状态等信息,进行查看详情或修改、删除操作,通过输入标题、姓名进行查询操作,如图5-28所示。

图5-28在线沟通界面图
维修员通过后台登录页面,可以进行填写用户名和密码,等信息,输入无误后进行登录操作,如图5-29所示

图5-30维修员登录页面
维修工通过登录进入到网站页面可以进行查看首页的社区公告、维修工、维修订单、新闻资讯、留言反馈、个人中心、后台管理等信息,进行查看社区维修的相对应操作。如图5-31所示。

图5-31维修员系统页面
个人中心:维修员通过个人中心页面可以进行输入账号、密码、姓名、性别、密码、等级、上传图片、身份证、电话等信息,进行更新信息或退出操作。如图5-32所示。

图5-32个人中心页面
通过点击新闻资讯可以进行查看新闻内容、发布时间、新闻标题等信息,进行查看,如图5-33所示。

图5-34新闻资讯页面
通过点击维修订单可以进行查看维修订单的物品名称、维修类型、发布日期、用户名、住户姓名、手机号、地址等信息,进行查看、接单,在线交流,如图5-35所示。维修员通过点击接单进入接单页面可以进行查看物品名称、维修类型、用户名、住户姓名、接单内容、接单日期、账号、姓名、电话等信息,进行提交或重置操作,如图5-36所示。维修员通过点击交流可以进行页面进行在线查看标题、用户名、住户姓名、进行输入聊天内容、日期等信息,进行在线交流操作,如图5-37所示。

图5-35维修订单界面图

图5-36接单界面图

图5-37交流界面
维修工通过登录页面可以填写用户名和密码,等信息进行登录操作,维修工登录成功后,进入用户后台系统页面可以查看个人中心、接单信息管理、订单信息管理、在线沟通管理模块等功能模块,进行相对应操作。接单信息:通过列表可以进行查看订单编号、物品名称、维修类型、用户名、住户姓名、接单内容、接单日期、账号、姓名、电话等信息,进行查看详情或维修订单、删除操作,如图5-38所示。通过点击维修订单可以进行输入订单编号、物品名称、维修类型、用户名、住户姓名、维修费用、账号、姓名等信息,进行提交操作,如图5-39所示。

图5-38接单信息管理界面图

图5-39维修订单界面图
通过订单信息列表可以进行查看订单编号、物品名称、维修类型、用户名、住户姓名、维修费用、账号、姓名、是否支付等信息,进行查看详情或删除操作,通过输入订单编号、物品名称、住户姓名进行查询操作,如图5-140所示。

图5-40订单信息管理界面图
通过在线沟通列表可以进行查看订标题、用户名、住户姓名、聊天内容、聊天回复、账号、姓名等信息,进行查看详情或删除操作,通过输入标题、住户姓名进行查询操作,如图5-41所示。

图5-41在线沟通界面图
此时项目已经完成,即使实施的时间不是很长,但是这个过程中需要准备很长的一段时间去对系统设计开发所实际到的技术进行学习。在学习的过程中,我逐渐认识得到了我自身存在的一些不足。对于一些控制是必要的应用技能,能够理解,整个过程中仅仅是一个掌握了常用的性能和控制方法。从系统的分析调查数据到系统的设计实现,整个过程经历了几个月,自己也努力了几个月,但是系统仍有很多不成熟的地方,在系统设计过程中有许多技术缺陷存在其中也涉及到了很多自己无法解决的问题,主要通过找专业的网站和论坛来解决这些问题,对于圆满完成我的毕业设计,他们也贡献了很大一部分力量。系统的开发环境和配置都是可以自行安装的,系统使用SpringBoot开发工具,使用比较成熟的Mysql数据库进行对系统前台及后台的数据交互,根据技术语言对数据库,结合需求进行修改维护,可以使得系统运行更具有稳定性和安全性,从而完成实现系统的开发。
回顾毕业设计的整个过程,既付出汗水也收获了很多。虽然经历了各种各样的困难,自己的不断研究探索,系统的实现仍有不足之处。
在以后的学习及工作中,我仍然继续学习计算机方面的技术,让我在后期的平台开发中可以更好更快的实现需求功能。我相信我可以让更多的好工作,做出更大的贡献。
可沟通项目方向、预算、交付周期与答辩时间安排,支持按学校要求定制交付内容。
根据你的浏览兴趣与热门趋势,精选可能适合你的毕业设计项目。
该系统是一个基于Java+SpringBoot后端、Vue+Uniapp前端的微信小程序点餐平台。平台实现了在线菜单浏览、购物车管理、订单提交与支付、后台数据统计等核心功能,为餐饮商家提供高效便捷的数字化点餐解决方案。项目采用前后端分离架构,适合作为毕业设计或实际项目开发,展示了现代Web与移动应用系统的完整实现流程。
该项目是一个集成了协同过滤推荐算法、网络爬虫与AI技术的智能减肥小程序。系统采用JAVA+SpringBoot构建后端服务,Vue+uniapp实现跨平台前端,旨在为用户提供个性化的饮食与运动方案。核心功能包括基于用户行为的智能推荐、健康数据管理及社区互动,适合作为毕业设计或实际项目开发,展示了现代Web与移动应用在信息管理与系统开发中的综合实践。
该系统是一个基于JAVA+SpringBoot后端与Vue前端的自动阅卷分析系统,旨在实现高效、准确的试卷批改与学习数据分析。核心功能包括智能识别与评分、错题统计分析、成绩报告生成以及教学效果评估。该系统开发专注于提升阅卷效率与信息管理深度,适用于在线教育、考试机构及毕业设计项目实现,为教学管理与学习分析提供一体化解决方案。
该心理健康测试平台是一个集前端小程序与后端管理系统于一体的综合系统开发项目。平台采用JAVA与SpringBoot构建稳健后端,结合Vue与uniApp实现跨端小程序开发,为用户提供便捷的心理测评与报告服务。系统核心功能包括题库管理、在线测试、数据分析及报告生成,旨在通过信息化手段提升心理健康服务的可及性与专业性,适用于毕业设计或实际项目实现。
该项目是一个基于JAVA+SpringBoot+Vue+uniapp技术栈的前后端分离微信小程序艺术品陶瓷商城系统。系统开发实现了艺术品陶瓷的在线展示、商品管理、用户订单处理及支付集成等核心功能,为陶瓷艺术品的数字化交易提供了完整的信息管理解决方案,适合作为毕业设计或商业项目实现。
该系统是一个基于Java+SpringBoot+Vue的二手车交易管理系统,旨在为用户提供便捷的在线车辆买卖平台。核心功能包括车辆信息发布、智能搜索、在线咨询、交易管理及用户评价等模块。通过前后端分离的系统开发模式,实现了高效的信息管理和流畅的用户体验,适合作为毕业设计或实际项目实现,帮助提升二手车交易效率与透明度。
该项目是一个基于Java、SpringBoot和Vue的故障报修平台,旨在实现高效的设备故障管理与维修流程。系统提供用户在线报修、工单分配、进度跟踪及数据统计等核心功能,适用于企业或校园的日常运维。通过前后端分离架构,确保了系统的可扩展性和维护性,适合作为毕业设计或实际项目实现,展示了现代Web信息管理系统的开发实践。
这是一个基于JAVA+SpringBoot+Vue的前后端分离学校请假管理系统,旨在实现学生请假流程的数字化与高效管理。系统开发涵盖了学生在线提交申请、辅导员与院系审批、请假记录统计等核心功能,优化了传统纸质流程。该项目可作为信息管理系统的毕业设计或实际应用案例,展示了前后端分离架构在项目实现中的优势。