基于JAVA+SpringBoot+Vue+uniapp的微信小程序点餐平台
该系统是一个基于Java+SpringBoot后端、Vue+Uniapp前端的微信小程序点餐平台。平台实现了在线菜单浏览、购物车管理、订单提交与支付、后台数据统计等核心功能,为餐饮商家提供高效便捷的数字化点餐解决方案。项目采用前后端分离架构,适合作为毕业设计或实际项目开发,展示了现代Web与移动应用系统的完整实现流程。
浏览 8 次
Oral Health Management System Based on Java+SpringBoot+Vue
口腔管家平台是一个基于Java+SpringBoot+Vue技术栈开发的前后端分离管理系统,专为口腔健康信息管理设计。系统核心功能包括患者档案管理、预约挂号、诊疗记录追踪以及数据统计分析,旨在提升诊所运营效率与服务质量。该项目适合作为毕业设计或实际项目实现,展示了现代Web系统开发中前后端分离架构的典型应用。
口腔管家平台是一个基于Java+SpringBoot+Vue技术栈开发的前后端分离管理系统,专为口腔健康信息管理设计。系统核心功能包括患者档案管理、预约挂号、诊疗记录追踪以及数据统计分析,旨在提升诊所运营效率与服务质量。该项目适合作为毕业设计或实际项目实现,展示了现代Web系统开发中前后端分离架构的典型应用。
管理员:首页、个人中心、会员管理、病例就诊信息管理、牙齿保健产品管理、复查提醒管理、预约挂号管理、药品信息管理、留言板管理、系统管理、订单管理,会员;首页、个人中心、病例就诊信息管理、复查提醒管理、预约挂号管理、我的收藏管理、订单管理,前台首页;首页、牙齿保健产品、牙齿保护小知识、留言反馈、个人中心、后台管理、购物车功能。

管理员登录,通过填写注册时输入的用户名、密码、角色进行登录,如图5-1所示。

图5-1管理员登录界面图
管理员登录进入口腔管理平台可以查看首页、个人中心、会员管理、病例就诊信息管理、牙齿保健产品管理、复查提醒管理、预约挂号管理、药品信息管理、
留言板管理、系统管理、订单管理等信息。
在个人中心页面中可以通过填写原密码、新密码、确认密码等信息进行添加、修改,如图5-2所示。还可以根据需要对个人信息进行添加,修改或删除等详细操作,如图5-3所示。

图5-2个人中心界面图

图5-3个人信息界面图
在会员管理页面中可以查看会员号、姓名、性别、手机、年龄、性别、手机、邮箱、积分等信息,并可根据需要对会员管理进行详情、修改或删除等操作,如图5-4所示。

图5-4会员管理界面图
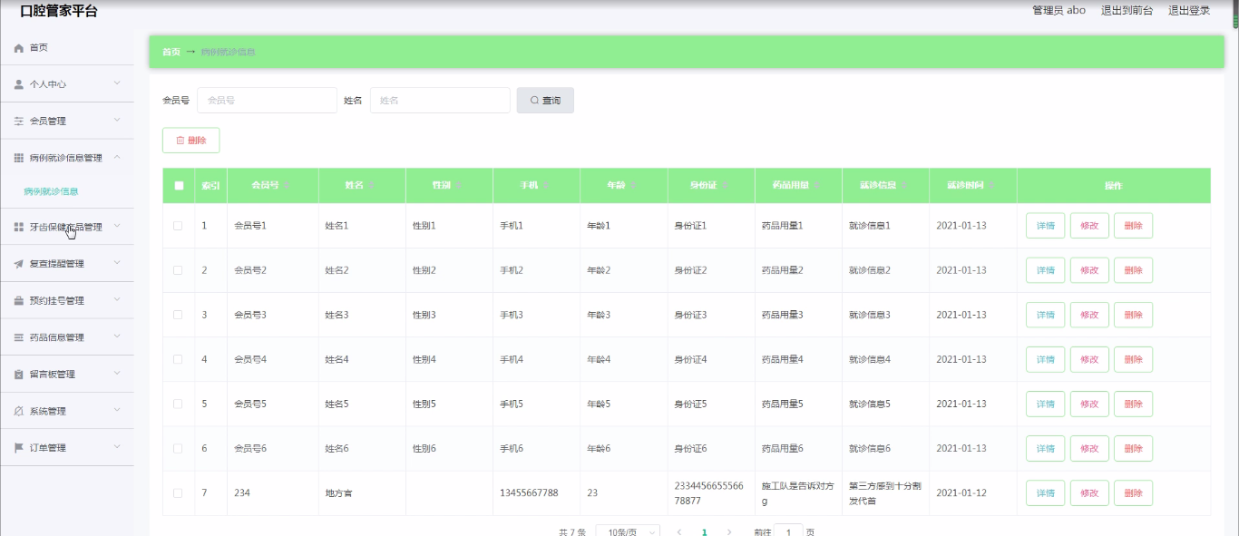
在病例就诊信息管理页面中可以查看会员号、姓名、性别、手机、年龄、身份证、药品用量、就诊信息、就诊时间等信息,并可根据需要对病例就诊信息管理进行详情、修改或删除等详细操作,如图5-5所示。

图5-5病例就诊信息管理界面
在牙齿保健产品管理页面中可以查看产品编号、产品名称、产品类型、图片、积分、适用人群、使用方法、注意事项等内容,并且根据需要对牙齿保健产品管理进行详情、添加,修改或删除等详细操作,如图5-6所示。

图5-6牙齿保健产品管理界面图
该页面为轮播图管理界面。管理员可以在此页面进行首页轮播图的管理,通过新建操作可在轮播图中加入新的图片,还可以对以上传的图片进行修改操作,以及图片的删除操作,如图5-7所示。

图5-7轮播图管理界面图
在预约挂号管理页面中可以查看会员号、姓名、预约就诊时间、备注、审核回复、审核状态、审核等内容,并且根据需要对预约挂号管理进行详情、添加,修改或删除等详细操作,如图5-8所示。

图5-8预约挂号管理界面图
在药品信息管理页面中可以查看药品编号、药品名称、图片、备注、功能主治、不良反应、禁忌事项等内容,并且根据需要对药品信息管理进行详情、添加,修改或删除等详细操作,如图5-9所示。

图5-9药品信息管理界面图
在留言板管理页面中可以查看用户名、留言内容、回复内容等内容,并且根据需要对留言板管理进行详情、添加,修改或删除等详细操作,如图5-10所示。

图5-10留言板管理界面图
会员登录进入口腔管理平台可以查看首页、个人中心、病例就诊信息管理、复查提醒管理、预约挂号管理、我的收藏管理、订单管理等内容。
个人信息,在个人信息页面中通过填写会员号、姓名、性别、手机、年龄、性别、手机、邮箱、积分等信息还可以根据需要对个人信息进行修改,如图5-11所示。

图5-11个人信息界面图
在我的收藏管理页面中可以查看收藏ID、表名、收藏名称、收藏图片等信息内容,并且根据需要对我的收藏管理进行修改或删除等其他详细操作,如图5-12所示。

图5-12我的收藏管理界面图
在预约挂号管理页面中通过填写会员号、姓名、预约就诊时间、备注、审核回复、审核状态、审核等内容进行详情、删除,如图5-13所示。

图5-13预约挂号管理界面图
在订单管理页面中通过填写订单编号、商品名称、商品图片、购买数量、价格/积分、折扣价格、总价格/总积分、折扣总价格、支付类型、状态、地址等内容进行详情、删除,如图5-14所示。

图5-14订单管理界面图
口腔管理平台,在口腔管理平台可以查看首页、牙齿保健产品、牙齿保护小知识、留言反馈、个人中心、后台管理、购物车等内容,如图5-15所示。

图5-15前台首页界面图
通过会员注册获取会员号、密码、姓名、年龄、手机、邮箱等信息进行注册、登录,如图5-16所示。


图5-16登录、会员注册界面图
在牙齿保健产品页面可以填写产品名称、价格、产品编号、产品类型、积分、适用人群、使用方法、注意事项等信息进行立即购买,如图5-17所示。

图5-17牙齿保健产品界面图
在确认下单页面可以填写选择收货地址、清单列表等进行支付如图5-18所示。

图5-18确认下单界面图
在收货地址添加页面可以填写联系人、手机号码、默认地址、选择地址等信息进行添加如图5-19所示。

图5-19收货地址添加界面图
此时项目已经完成,即使实施的时间不是很长,但是这个过程中需要准备很长的一段时间去对系统设计开发所实际到的技术进行学习。在学习的过程中,我逐渐认识得到了我自身存在的一些不足。对于一些控制是必要的应用技能,能够理解,整个过程中仅仅是一个掌握了常用的性能和控制方法,我觉得挺容易的。从该系统中,系统的分析和设计的调查数据,并且已经经历了几个月,并努力几个月,该系统已经完成。很显然,该系统仍有很多不成熟,在系统设计过程中有许多技术缺陷存在。在设计的过程中也涉及到了很多自己无法解决的问题,主要通过找专业的网站和论坛来解决这些问题,对于圆满完成我的毕业设计,他们也贡献了很大一部分力量。系统的开发环境和配置都是可以自行安装的,系统使用springboot框架开发工具,使用比较成熟的Mysql数据库进行对系统前台及后台的数据交互,根据技术语言对数据库,结合需求进行修改维护,可以使得系统运行更具有稳定性和安全性,从而完成实现系统的开发。
回顾毕业设计的整个过程,既付出汗水也收获了很多。虽然经历了各种各样的困难,自己的不断研究探索,系统的实现仍有不足之处。
在以后的学习及工作中,我仍然继续学习计算机方面的技术,让我在后期的平台开发中可以更好更快的实现需求功能。
可沟通项目方向、预算、交付周期与答辩时间安排,支持按学校要求定制交付内容。
根据你的浏览兴趣与热门趋势,精选可能适合你的毕业设计项目。
该系统是一个基于Java+SpringBoot后端、Vue+Uniapp前端的微信小程序点餐平台。平台实现了在线菜单浏览、购物车管理、订单提交与支付、后台数据统计等核心功能,为餐饮商家提供高效便捷的数字化点餐解决方案。项目采用前后端分离架构,适合作为毕业设计或实际项目开发,展示了现代Web与移动应用系统的完整实现流程。
该项目是一个集成了协同过滤推荐算法、网络爬虫与AI技术的智能减肥小程序。系统采用JAVA+SpringBoot构建后端服务,Vue+uniapp实现跨平台前端,旨在为用户提供个性化的饮食与运动方案。核心功能包括基于用户行为的智能推荐、健康数据管理及社区互动,适合作为毕业设计或实际项目开发,展示了现代Web与移动应用在信息管理与系统开发中的综合实践。
该系统是一个基于JAVA+SpringBoot后端与Vue前端的自动阅卷分析系统,旨在实现高效、准确的试卷批改与学习数据分析。核心功能包括智能识别与评分、错题统计分析、成绩报告生成以及教学效果评估。该系统开发专注于提升阅卷效率与信息管理深度,适用于在线教育、考试机构及毕业设计项目实现,为教学管理与学习分析提供一体化解决方案。
该心理健康测试平台是一个集前端小程序与后端管理系统于一体的综合系统开发项目。平台采用JAVA与SpringBoot构建稳健后端,结合Vue与uniApp实现跨端小程序开发,为用户提供便捷的心理测评与报告服务。系统核心功能包括题库管理、在线测试、数据分析及报告生成,旨在通过信息化手段提升心理健康服务的可及性与专业性,适用于毕业设计或实际项目实现。
该项目是一个基于JAVA+SpringBoot+Vue+uniapp技术栈的前后端分离微信小程序艺术品陶瓷商城系统。系统开发实现了艺术品陶瓷的在线展示、商品管理、用户订单处理及支付集成等核心功能,为陶瓷艺术品的数字化交易提供了完整的信息管理解决方案,适合作为毕业设计或商业项目实现。
该系统是一个基于Java+SpringBoot+Vue的二手车交易管理系统,旨在为用户提供便捷的在线车辆买卖平台。核心功能包括车辆信息发布、智能搜索、在线咨询、交易管理及用户评价等模块。通过前后端分离的系统开发模式,实现了高效的信息管理和流畅的用户体验,适合作为毕业设计或实际项目实现,帮助提升二手车交易效率与透明度。
该项目是一个基于Java、SpringBoot和Vue的故障报修平台,旨在实现高效的设备故障管理与维修流程。系统提供用户在线报修、工单分配、进度跟踪及数据统计等核心功能,适用于企业或校园的日常运维。通过前后端分离架构,确保了系统的可扩展性和维护性,适合作为毕业设计或实际项目实现,展示了现代Web信息管理系统的开发实践。
这是一个基于JAVA+SpringBoot+Vue的前后端分离学校请假管理系统,旨在实现学生请假流程的数字化与高效管理。系统开发涵盖了学生在线提交申请、辅导员与院系审批、请假记录统计等核心功能,优化了传统纸质流程。该项目可作为信息管理系统的毕业设计或实际应用案例,展示了前后端分离架构在项目实现中的优势。