基于JAVA+SpringBoot+Vue+uniapp的微信小程序点餐平台
该系统是一个基于Java+SpringBoot后端、Vue+Uniapp前端的微信小程序点餐平台。平台实现了在线菜单浏览、购物车管理、订单提交与支付、后台数据统计等核心功能,为餐饮商家提供高效便捷的数字化点餐解决方案。项目采用前后端分离架构,适合作为毕业设计或实际项目开发,展示了现代Web与移动应用系统的完整实现流程。
浏览 9 次
Community Service and Management System for Aging Population Based on Java+SpringBoot+Vue
该项目是一个面向人口老龄化社区的综合性服务与管理平台。系统采用Java+SpringBoot后端与Vue前端技术栈,旨在实现社区老人信息管理、服务预约、健康监测及活动组织等核心功能。通过系统开发,为社区管理者提供高效的信息管理工具,同时提升老年居民的生活服务质量,适合作为毕业设计或实际项目实现。
该项目是一个面向人口老龄化社区的综合性服务与管理平台。系统采用Java+SpringBoot后端与Vue前端技术栈,旨在实现社区老人信息管理、服务预约、健康监测及活动组织等核心功能。通过系统开发,为社区管理者提供高效的信息管理工具,同时提升老年居民的生活服务质量,适合作为毕业设计或实际项目实现。
人口老龄化社区服务与管理平台是面向居家老人用户、社区的系统与信息平台,并在此基础上提供实时、快捷、高效、低成本的,物联化、互联化、智能化的人口老龄化社区服务服务。
随着科技进步,新型人口老龄化社区服务方式日趋流行,社会上也涌现出一系列如只为父母设计的电视盒子等高科技产品,提升老人的晚年生活质量,最大程度的解决空巢老人寂寞的问题,是智慧人口老龄化社区服务,候鸟式人口老龄化社区服务,信息化人口老龄化社区服务,中国式人口老龄化社区服务的新形式。智慧人口老龄化社区服务经过一年多的良好运营与快速成长,获得了政府、行业、公众及媒体的广泛关注与认可。让老人充分享受物联网带来的便捷和舒适。
随着计算机技术的发展以及计算机网络的逐渐普及,互联网成为人们查找信息的重要场所,二十一世纪是信息的时代,所以信息的管理显得特别重要。因此,使用计算机来管理汽车站车辆运管的相关信息成为必然。开发合适的人口老龄化社区服务与管理平台,可以方便管理人员对人口老龄化社区服务与管理平台的管理,提高信息管理工作效率及查询效率,有利于更好的为人们服务。
本系统是基于B/S架构的网站系统,设计的功能结构图如下图所示:

图4-2功能结构图
数据库设计(Database Design)是指对于一个给定的应用环境,构造最优的数据库模式,建立数据库及其应用系统,使之能够有效地存储数据,满足各种用户的应用需求(信息要求和处理要求)。在数据库领域内,常常把使用数据库的各类系统统称为数据库应用系统。
数据库设计的设计内容包括:需求分析、概念结构设计、逻辑结构设计、物理结构设计、数据库的实施和数据库的运行和维护。
概念设计的目标是设计出反映某个组织部门信息需求的数据库系统概念模式,数据库系统的概念模式独立于数据库系统的逻辑结构、独立于数据库管理系统(DBMS)、独立于计算机系统。
概念模式的设计方法是在需求分析的基础上,用概念数据模型(例如E-R模型)表示数据及数据之间的相互联系,设计出反映用户信息需求和处理需求的数据库系统概念模式。概念设计的目标是准确描述应用领域的信息模式,支持用户的各种应用,这样既容易转换为数据库系统逻辑模式,又容易为用户理解。数据库系统概念模式是面向现实世界的数据模型,不能直接用于数据库系统的实现。在此阶段,用户可以参与和评价数据库系统的设计,从而有利于保证数据库系统的设计与用户的需求相吻合。在概念模式的设计中,E-R模型法是最常见的设计方法。本系统的E-R图如下图所示:
(1)社区资讯信息的实体属性图如下:

图4.12 社区资讯实体属性图
(2)社区文件信息实体属性图如图4.13所示:

图4.13 社区文件信息实体属性图
(3)管理员信息实体属性图如图4.14所示:

图4.14 管理员信息实体属性图
1.表设计原则
遵循三范式:遵守3NF 标准的数据库的表设计原则是:“One Fact in One Place”即某个表只包括其本身基本的属性,当不是它们本身所具有的属性时需进行分解。表之间的关系通过外键相连接。
2)满足三大范式
第一范式:1NF是对属性的原子性约束,要求属性具有原子性,不可再分解;
第二范式:2NF是对记录的惟一性约束,要求记录有惟一标识,即实体的惟一性;
第三范式:3NF是对字段冗余性的约束,即任何字段不能由其他字段派生出来,它要求字段没有冗余。
人口老龄化社区服务与管理平台需要后台数据库,下面介绍数据库中的各个表的详细信息:
表4.1 社区活动评论表
字段
类型
空
默认
注释
id (主键)
bigint(20)
否
主键
addtime
timestamp
否
CURRENT_TIMESTAMP
创建时间
refid
bigint(20)
否
关联表id
userid
bigint(20)
否
用户id
nickname
varchar(200)
是
NULL
用户名
content
longtext
否
评论内容
reply
longtext
是
NULL
回复内容
表4.2 活动报名
字段
类型
空
默认
注释
id (主键)
bigint(20)
否
主键
addtime
timestamp
否
CURRENT_TIMESTAMP
创建时间
huodongmingcheng
varchar(200)
是
NULL
活动名称
huodongdidian
varchar(200)
是
NULL
活动地点
shenqingshuoming
varchar(200)
是
NULL
申请说明
baomingshijian
date
是
NULL
报名时间
yuangonggonghao
varchar(200)
是
NULL
员工工号
zhanghao
varchar(200)
是
NULL
账号
xingming
varchar(200)
是
NULL
姓名
sfsh
varchar(200)
是
否
是否审核
shhf
longtext
是
NULL
审核回复
表4.3 老人信息
字段
类型
空
默认
注释
id (主键)
bigint(20)
否
主键
addtime
timestamp
否
CURRENT_TIMESTAMP
创建时间
laorenxingming
varchar(200)
是
NULL
老人姓名
xingbie
varchar(200)
是
NULL
性别
nianling
int(11)
是
NULL
年龄
zhuzhi
varchar(200)
是
NULL
住址
jiashuxinxi
longtext
是
NULL
家属信息
shifouduju
varchar(200)
是
NULL
是否独居
shifoushengbing
varchar(200)
是
NULL
是否生病
fangwenzhouqi
varchar(200)
是
NULL
访问周期
zhanghao
varchar(200)
是
NULL
账号
xingming
varchar(200)
是
NULL
姓名
yuangonggonghao
varchar(200)
是
NULL
员工工号
yuangongxingming
varchar(200)
是
NULL
员工姓名
表4.4 社区资讯
字段
类型
空
默认
注释
id (主键)
bigint(20)
否
主键
addtime
timestamp
否
CURRENT_TIMESTAMP
创建时间
title
varchar(200)
否
标题
introduction
longtext
是
NULL
简介
picture
varchar(200)
否
图片
content
longtext
否
内容
表4.5 社区服务
字段
类型
空
默认
注释
id (主键)
bigint(20)
否
主键
addtime
timestamp
否
CURRENT_TIMESTAMP
创建时间
fuwumingcheng
varchar(200)
是
NULL
服务名称
fuwuleixing
varchar(200)
是
NULL
服务类型
fuwudizhi
varchar(200)
是
NULL
服务地址
fuwuneirong
longtext
是
NULL
服务内容
shenqingshijian
date
是
NULL
申请时间
beizhu
longtext
是
NULL
备注
zhanghao
varchar(200)
是
NULL
账号
xingming
varchar(200)
是
NULL
姓名
sfsh
varchar(200)
是
否
是否审核
shhf
longtext
是
NULL
审核回复
表4.6 社区活动
字段
类型
空
默认
注释
id (主键)
bigint(20)
否
主键
addtime
timestamp
否
CURRENT_TIMESTAMP
创建时间
huodongmingcheng
varchar(200)
是
NULL
活动名称
huodongdidian
varchar(200)
是
NULL
活动地点
baomingtiaojian
longtext
是
NULL
报名条件
kaishishijian
date
是
NULL
开始时间
jieshushijian
date
是
NULL
结束时间
huodongneirong
longtext
是
NULL
活动内容
yuangonggonghao
varchar(200)
是
NULL
员工工号
lianxidianhua
varchar(200)
是
NULL
联系电话
huodongtupian
varchar(200)
是
NULL
活动图片
表4.7 社区文件
字段
类型
空
默认
注释
id (主键)
bigint(20)
否
主键
addtime
timestamp
否
CURRENT_TIMESTAMP
创建时间
wenjianbianhao
varchar(200)
是
NULL
文件编号
wenjianmingcheng
varchar(200)
是
NULL
文件名称
wenjianneirong
longtext
是
NULL
文件内容
wenjianxiazai
varchar(200)
是
NULL
文件下载
faburen
varchar(200)
是
NULL
发布人
faburiqi
date
是
NULL
发布日期
tupian
varchar(200)
是
NULL
图片
表4.8 社区信息
字段
类型
空
默认
注释
id (主键)
bigint(20)
否
主键
addtime
timestamp
否
CURRENT_TIMESTAMP
创建时间
shequmingcheng
varchar(200)
是
NULL
社区名称
lishujiedao
varchar(200)
是
NULL
隶属街道
shequdizhi
varchar(200)
是
NULL
社区地址
changzhurenkou
int(11)
是
NULL
常住人口
laolingrenkou
int(11)
是
NULL
老龄人口
shequjieshao
longtext
是
NULL
社区介绍
shequyouxiang
varchar(200)
是
NULL
社区邮箱
lianxidianhua
varchar(200)
是
NULL
联系电话
shequtupian
varchar(200)
是
NULL
社区图片
表4.9 收藏表
字段
类型
空
默认
注释
id (主键)
bigint(20)
否
主键
addtime
timestamp
否
CURRENT_TIMESTAMP
创建时间
userid
bigint(20)
否
用户id
refid
bigint(20)
是
NULL
收藏id
tablename
varchar(200)
是
NULL
表名
name
varchar(200)
否
收藏名称
picture
varchar(200)
否
收藏图片
type
varchar(200)
是
1
类型(1:收藏,2:赞,3:踩)
表4.10 管理员表
字段
类型
空
默认
注释
id (主键)
bigint(20)
否
主键
username
varchar(100)
否
用户名
password
varchar(100)
否
密码
role
varchar(100)
是
管理员
角色
addtime
timestamp
否
CURRENT_TIMESTAMP
新增时间
表4.11 用户
字段
类型
空
默认
注释
id (主键)
bigint(20)
否
主键
addtime
timestamp
否
CURRENT_TIMESTAMP
创建时间
zhanghao
varchar(200)
否
账号
mima
varchar(200)
否
密码
xingming
varchar(200)
否
姓名
xingbie
varchar(200)
是
NULL
性别
xiaoqumingcheng
varchar(200)
是
NULL
小区名称
loufanghao
varchar(200)
是
NULL
楼房号
shouji
varchar(200)
是
NULL
手机
shenfenzheng
varchar(200)
是
NULL
身份证
shengri
varchar(200)
是
NULL
生日
touxiang
varchar(200)
是
NULL
头像
表4.12 员工
字段
类型
空
默认
注释
id (主键)
bigint(20)
否
主键
addtime
timestamp
否
CURRENT_TIMESTAMP
创建时间
yuangonggonghao
varchar(200)
否
员工工号
mima
varchar(200)
否
密码
yuangongxingming
varchar(200)
否
员工姓名
xingbie
varchar(200)
是
NULL
性别
xiaoqumingcheng
varchar(200)
是
NULL
小区名称
zhiwu
varchar(200)
是
NULL
职务
lianxidianhua
varchar(200)
是
NULL
联系电话
shenfenzheng
varchar(200)
是
NULL
身份证
touxiang
varchar(200)
是
NULL
头像
表4.13 走访任务
字段
类型
空
默认
注释
id (主键)
bigint(20)
否
主键
addtime
timestamp
否
CURRENT_TIMESTAMP
创建时间
renwumingcheng
varchar(200)
是
NULL
任务名称
renwuleixing
varchar(200)
是
NULL
任务类型
renwudidian
varchar(200)
是
NULL
任务地点
renwumubiao
varchar(200)
是
NULL
任务目标
renwuneirong
longtext
是
NULL
任务内容
renwuriqi
date
是
NULL
任务日期
beizhu
longtext
是
NULL
备注
yuangonggonghao
varchar(200)
是
NULL
员工工号
yuangongxingming
varchar(200)
是
NULL
员工姓名
表4.14 走访信息
字段
类型
空
默认
注释
id (主键)
bigint(20)
否
主键
addtime
timestamp
否
CURRENT_TIMESTAMP
创建时间
zoufangduixiang
varchar(200)
是
NULL
走访对象
zoufangdizhi
varchar(200)
是
NULL
走访地址
jibenqingkuang
longtext
是
NULL
基本情况
fangwenneirong
longtext
是
NULL
访问内容
daijiejuewenti
longtext
是
NULL
待解决问题
beizhu
longtext
是
NULL
备注
zoufangriqi
date
是
NULL
走访日期
zhaopian
varchar(200)
是
NULL
照片
yuangonggonghao
varchar(200)
是
NULL
员工工号
yuangongxingming
varchar(200)
是
NULL
员工姓名
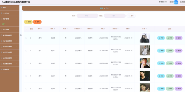
人口老龄化社区服务与管理平台的系统管理员可以对用户信息添加修改删除以及查询操作。具体界面的展示如图5.1所示。

图5.1 用户信息管理界面
系统管理员可以对员工信息进行添加,修改,删除操作。具体界面如图5.2所示。

图5.2 用户信息管理界面
系统管理员可以对社区信息进行添加,修改,删除以及查询操作。具体界面如图5.2所示。

图5.3 社区信息管理界面
管理员可以对员工添加的员工信息进行查看。具体界面如图5.2所示。

图5.4 老人信息查看界面
系统管理员可以对社区文件信息进行添加修改删除操作。具体界面如图5.2所示。

图5.5 社区文件管理界面
系统管理员可以对走访任务进行添加修改删除操作,走访任务主要是对员工进行布置的,走访任务里面需要选择员工信息的。具体界面如图5.2所示。

图5.6 走访任务管理界面
管理员可以对走访信息进行查看,走访信息是员工添加的。界面如下图所示:

图5.7 走访信息查看界面
员工可以对社区活动机进行添加,修改,删除,查询操作。界面如下图所示:

图5.8 社区活动管理界面
用户登录后可以在首页查看相关信息,并且可以在社区活动栏目查看社区活动信息,并且可以进行活动报名。界面如下图所示:

图5.9 活动报名界面
可沟通项目方向、预算、交付周期与答辩时间安排,支持按学校要求定制交付内容。
根据你的浏览兴趣与热门趋势,精选可能适合你的毕业设计项目。
该系统是一个基于Java+SpringBoot后端、Vue+Uniapp前端的微信小程序点餐平台。平台实现了在线菜单浏览、购物车管理、订单提交与支付、后台数据统计等核心功能,为餐饮商家提供高效便捷的数字化点餐解决方案。项目采用前后端分离架构,适合作为毕业设计或实际项目开发,展示了现代Web与移动应用系统的完整实现流程。
该项目是一个集成了协同过滤推荐算法、网络爬虫与AI技术的智能减肥小程序。系统采用JAVA+SpringBoot构建后端服务,Vue+uniapp实现跨平台前端,旨在为用户提供个性化的饮食与运动方案。核心功能包括基于用户行为的智能推荐、健康数据管理及社区互动,适合作为毕业设计或实际项目开发,展示了现代Web与移动应用在信息管理与系统开发中的综合实践。
该系统是一个基于JAVA+SpringBoot后端与Vue前端的自动阅卷分析系统,旨在实现高效、准确的试卷批改与学习数据分析。核心功能包括智能识别与评分、错题统计分析、成绩报告生成以及教学效果评估。该系统开发专注于提升阅卷效率与信息管理深度,适用于在线教育、考试机构及毕业设计项目实现,为教学管理与学习分析提供一体化解决方案。
该心理健康测试平台是一个集前端小程序与后端管理系统于一体的综合系统开发项目。平台采用JAVA与SpringBoot构建稳健后端,结合Vue与uniApp实现跨端小程序开发,为用户提供便捷的心理测评与报告服务。系统核心功能包括题库管理、在线测试、数据分析及报告生成,旨在通过信息化手段提升心理健康服务的可及性与专业性,适用于毕业设计或实际项目实现。
该项目是一个基于JAVA+SpringBoot+Vue+uniapp技术栈的前后端分离微信小程序艺术品陶瓷商城系统。系统开发实现了艺术品陶瓷的在线展示、商品管理、用户订单处理及支付集成等核心功能,为陶瓷艺术品的数字化交易提供了完整的信息管理解决方案,适合作为毕业设计或商业项目实现。
该系统是一个基于Java+SpringBoot+Vue的二手车交易管理系统,旨在为用户提供便捷的在线车辆买卖平台。核心功能包括车辆信息发布、智能搜索、在线咨询、交易管理及用户评价等模块。通过前后端分离的系统开发模式,实现了高效的信息管理和流畅的用户体验,适合作为毕业设计或实际项目实现,帮助提升二手车交易效率与透明度。
该项目是一个基于Java、SpringBoot和Vue的故障报修平台,旨在实现高效的设备故障管理与维修流程。系统提供用户在线报修、工单分配、进度跟踪及数据统计等核心功能,适用于企业或校园的日常运维。通过前后端分离架构,确保了系统的可扩展性和维护性,适合作为毕业设计或实际项目实现,展示了现代Web信息管理系统的开发实践。
这是一个基于JAVA+SpringBoot+Vue的前后端分离学校请假管理系统,旨在实现学生请假流程的数字化与高效管理。系统开发涵盖了学生在线提交申请、辅导员与院系审批、请假记录统计等核心功能,优化了传统纸质流程。该项目可作为信息管理系统的毕业设计或实际应用案例,展示了前后端分离架构在项目实现中的优势。